MLA-50 Fixed-Angle Rotor

Product No:A91774

MLA-50 Rotor Assembly, Fixed-Angle Rotor, Aluminum. Major Applications: subcellular isolations. For use in the Optima MAX-XP Benchtop Ultracentrifuges.

Spécifications

Platform Tabletop UCF
Rotor Type Fixed-Angle (Ultracentrifugation)
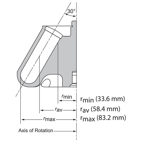
Angle 30
Maximum RPM 50,000 rpm
Max g-Force 233,000 x g
k-Factor 92
Adapters 303307, 303392, 330860, 343448, 361669
Number of Tubes 25 x 77 mm, 6 x 32.4 mL
Caps and Spacers 361669 │ 343448
Nominal Capacity 194.4mL
rMAX 83.2
rMIN 33.6
rAV 58.4 mm
BioSafe Bio-Enhanced
Materials Aluminum
Package Quantity 1